介紹 電位測定分析方法基于測量兩個電極(電池)之間的電位差,使得在這兩個電極之間通過的電流幾乎為零。這些電極中的一個稱為工作電極 - 其具有取決于測試溶液中存在的給定離子濃度的電位,例如玻璃電極取決于氫離子。 參比電極形成細胞的另一半。這具有固定的電位并且獨立于樣品組合物,例如甘汞電極或Ag / AgCl(銀/氯化銀)電極。 為了精確測量電池的電位,測量裝置的電阻必須相對于電池電阻大(大約1000倍)。由于電池的電極的電阻可以是100MΩ或更大,通常使用的常規電位測量器件具有10的內阻12 Ω以上。 由于大多數數據記錄儀和典型電壓表的輸入阻抗僅為約1MΩ,因此它們不適用于電位測量,例如pH水溶液的測定,這是電位測量的最常見示例。因此,必須使用更高的輸入阻抗放大器。的 DrDAQ數據記錄器 包括這種放大器,以允許直接的單通道的pH測量。 該實驗描述了低成本四通道高輸入阻抗模塊的構造和使用,該模塊與ADC-16高分辨率數據記錄器一起使用,以允許同時進行四通道pH監測。
所需設備
ADC-16 數據記錄器 和端子塊
4 * INA116P超低輸入偏置電流儀表放大器
5 * BNC插座
2 * D25連接器
玻璃組合ph電極 (最多4個電極)
4 *燒杯(250毫升)
系列緩沖溶液
實驗設置 該INA116P具有非常高的輸入阻抗(10 15 Ω)這表明它在細胞的潛力,特別是類似于那些使用玻璃電極的高電阻的小區的測量中使用。方便地,INA116P可由ADC-16供電,如圖1所示,無需額外的電源。
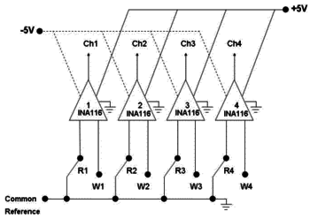
使用4個INA116P放大器構建一個四通道模塊,如電路圖所示(圖2)。該電路具有以下特性: 1.將參考電極和工作電極輸入分別連接到每個通道。例如,這適用于玻璃參比組合電極,其中BNC插座同時連接玻璃和參比電極。 2.公共參考電極輸入。這在使用針對單個參考電極的多個工作電極的其他電位測量中是重要的。 3.參考電極輸入連接到地。這提供了穩定的潛在記錄。 4.輸出(Ch1-4),接地,+ 5 V和-5 V線路連接到固定在項目箱頂部的內置D25母頭連接器,如圖3所示。 5.與固定在ADC-16上的ADC-16接線端子的相應連接使用7根線制成。這些對應于Ch1-4,接地,+ 5V和-5V。 6.B1插座用于Ch1-4和公共參考輸入,以匹配玻璃組合電極的常用連接器。 7.四通道模塊可輕松容納在4 x 6 x 11 cm的項目盒中,如圖3所示。
方法 將ADC-16數據記錄器插入安裝有PicoLog軟件的PC。 將4通道模塊連接到ADC-16。 將最多4個組合玻璃電極連接到標記為Ch 1-4的輸入。 使用PicoLog的縮放功能,使用標準緩沖解決方案獨立校準每個通道。對于由Pico提供的組合pH玻璃電極,在pH7時電位差近似為零。因此,可能的比例方程可以是: pH = 7.00 - (X / 59.1) - 其中X是以mV表示的電位讀數。 使為了獲得更準確的測量結果,建議使用“表查找”縮放選項,以使用兩個或三個緩沖區進行校準。 同時記錄4種不同緩沖溶液的pH值。 將玻璃電極切換到不同pH值的不同緩沖液中 - 這應該產生類似于圖4所示的結果。
問題和結果討論 圖4顯示了同時的4-ch pH監測。每個電極經歷2或3個pH步驟變化。然后,將每個電極返回到其原始的緩沖溶液中,其中幾乎恢復了原始pH值。這證明了所述系統在精確和可重復的pH監測中的可靠性。當然,玻璃電極本身的質量在這些測量中是必不可少的。
Q1:解釋為什么與其他電極類型(如金屬電極)的測量相比,基于玻璃電極的pH測量特別具有挑戰性。 Q2:即使電池電阻相對較低(可能允許具有1MΩ輸入阻抗的數據記錄儀)來測量電池電位,也要解釋為什么仍然優先使用高輸入阻抗器件。 Q3:解釋為什么高輸入阻抗電壓表通常被稱為pH計。 Q4:如果您嘗試使用ADC-16數據記錄儀或常規電壓表直接測量玻璃/參考電池電極的電池電位,會發生什么? Q5:你能想到使用這種多聲道錄音的另一個好處嗎?
進一步研究 修改酸堿滴定曲線實驗,使用單一滴定劑(NaOH)分別添加到含有硼酸,乙酸,鹽酸和磷酸的四個不同燒杯中,并同時監測這四個滴定過程中的pH值。 修改測量牛奶實驗的pH值,同時記錄保存在不同溫度下的四種不同牛奶樣品的酸化率。 將四通道模塊應用于其他類型的電位測量,如電位滴定,使用其他電極(如鉑,銀線或膜離子選擇性電極)進行直接電位測量。你有四個pH計的能力。
查看結果